SELF-LOCKING HOOK – CLEVIS
Clevis Self-Locking Hooks stay open until the load is applied, automatically locking under load for added safety. The hook remains securely closed until the rear trigger is pressed. The clevis design allows for quick and easy chain connection.
- Description
Description
Features
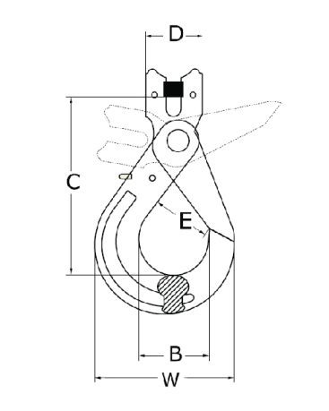
Specifications
| SIZE (mm) | WLL (tonne) | WEIGHT (kg) | B (mm) | C (mm) | D (mm) | E (mm) | W (mm) |
|---|---|---|---|---|---|---|---|
| 6 | 1.1 | 0.4 | 34 | 96 | 32 | 28 | 69 |
| 7 - 8 | 2 | 0.7 | 46 | 118.5 | 36 | 36 | 88 |
| 10 | 3.2 | 1.5 | 58 | 144 | 46 | 45 | 107 |
| 13 | 5.3 | 2.7 | 69 | 181.5 | 59 | 50 | 138 |
| 16 | 8 | 5.6 | 86 | 216 | 70 | 60 | 182 |
| 18 - 20 | 12.5 | 10.5 | 92 | 238 | 81 | 72 | 204 |
| 22 | 15 | 13.8 | 98 | 276 | 98 | 78 | 205 |
| 26 | 21.2 | 18.2 | 110 | 311 | 118 | 106 | 240 |
Subject to change without notice























